Services

Secure C-Ring

Thumbnail
Thumbnail
Thumbnail
Secure C-Ring
Secure C-Ring
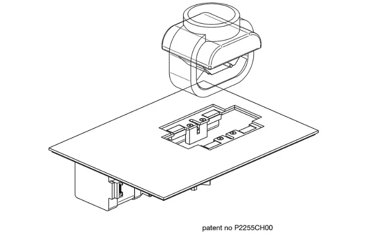
Patented Secure C-Ring

Client : Dietlin

In partnership with Dietlin, the FiveCo team has developed a range of watch stands that combine security, reliability, and ease of use, while offering the possibility of integration into multiple configurations.

The challenge? To develop a mechanism that is both compact and robust, combined with an autonomous and responsive electronic system

The result: A solution that is easy to deploy and perfectly adaptable to the needs of each watch manufacturer.

These projects are in line with Xavier Dietlin's disruptive philosophy, which for more than 20 years has been shaking up the codes of watch presentation by offering devices without glass domes, providing a unique and immersive customer experience.

This adventure began with the development of the RAPTOR in 2005.